Сетевые дроссели

Дроссель сетевой ослабляет броски напряжения в сети при включении или выключении крупных потребителей. Это не редкость, так как в России качество подводимой электроэнергии оставляет желать лучшего. Использование этого устройства существенно влияет на форму потребляемого тока и значительно приближает его к синусоидальной. При использовании дросселя сетевого в диапазоне от 10 кГц до 300 кГц достигается уменьшение нагрузочных помех вплоть до 30 Db, а также продлевается срок службы конденсаторов промежуточного контура. При использовании устройства ограничивается скорость нарастания тока, если преобразователь, по каким либо причинам вышел из строя. При этом успевает сработать входной автомат отключения питания, и повреждения оказываются минимальными, и, как следствие, более дешевый ремонт. Коэффициент, характеризующий не синусоидальность формы, в случае без сетевого дросселя равен 66%, при его использовании равен 89%. Надежность преобразователя увеличивается в 5 - 7 раз.
Цена: от 2 000 руб.
Сетевой дроссель снижает гармоники в сетевом напряжении и защищает частотные преобразователи от вредных воздействий со стороны питающей сети. Большинство типов частотных приводов искажают сетевое напряжение, генерируя в него высокие гармоники. Сетевой дроссель эффективно снижают гармонические составляющие в сети, создаваемые преобразователем частоты. Сетевой дроссель так же используется для защиты входных цепей преобразователей частоты от пиковых перенапряжений, которые могут быть созданы ударами молнии, а так же другим оборудованием, подключенным на линии, например, мощными электродвигателями, запускаемыми напрямую от сети. Маломощные частотные преобразователи наиболее подвержены негативным воздействиям со стороны сети, таким как воздействия от сварочного оборудования, мощных тиристорных регуляторов, приводов постоянного тока, и т. д. Таким образом, сетевой дроссель является двухсторонними буфером между приводом и сетью, снижая вредные воздействия одного на другое.
Общее описание
|
Наименование |
Номинальный ток, А |
Индуктивность mH |
Мощность подключаемого электровигателя, кВт |
|---|---|---|---|
|
IR 002 |
2,5 |
8.4 |
0,75 |
|
IR 005 |
5 |
4.2 |
1,5 |
|
IR 007 |
7,5 |
2.8 |
2,2 |
|
IR 010 |
10 |
2.1 |
3,7 |
|
IR 015 |
15 |
1.4 |
5,5 |
|
IR 020 |
20 |
1.06 |
7,5 |
|
IR 030 |
30 |
0.71 |
11 |
|
IR 040 |
40 |
0.53 |
15 |
|
IR 050 |
50 |
0.42 |
18,5 |
|
IR 060 |
60 |
0.35 |
22 |
|
IR 076 |
76 |
0.276 |
30 |
|
IR 090 |
90 |
0.234 |
37 |
|
IR 120 |
120 |
0.175 |
45 |
|
IR 150 |
150 |
0.14 |
55 |
|
IR 190 |
190 |
0.11 |
75 |
|
IR 210 |
210 |
0.10 |
90 |
|
IR 250 |
250 |
0.084 |
110 |
|
IR 290 |
290 |
0.073 |
132 |
|
IR 330 |
330 |
0.064 |
160 |

|
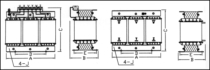
Наименование |
Размеры, мм |
Масса, кг |
|||||
|---|---|---|---|---|---|---|---|
|
A±5 |
B±10 |
C±10 |
D±1 |
E±4 |
J±1 |
||
|
IR 002 |
130 |
95 |
135 |
80 |
70 |
7 |
3,1 |
|
IR 005 |
130 |
95 |
135 |
80 |
70 |
7 |
3,3 |
|
IR 007 |
130 |
95 |
135 |
80 |
70 |
7 |
3,3 |
|
IR 010 |
130 |
100 |
135 |
80 |
70 |
7 |
3,4 |
|
IR 015 |
165 |
105 |
140 |
80 |
75 |
7 |
4,3 |
|
IR 020 |
165 |
115 |
140 |
80 |
75 |
7 |
4,5 |
|
IR 030 |
180 |
120 |
180 |
100 |
85 |
7 |
8,5 |
|
IR 040 |
180 |
130 |
180 |
100 |
85 |
7 |
9,0 |
|
IR 050 |
180 |
135 |
180 |
100 |
85 |
7 |
9,1 |
|
IR 060 |
190 |
160 |
170 |
120 |
98 |
10 |
11,8 |
|
IR 076 |
230 |
165 |
200 |
120 |
105 |
10 |
16,5 |
|
IR 090 |
230 |
165 |
200 |
120 |
105 |
10 |
17,0 |
|
IR 120 |
230 |
175 |
200 |
120 |
105 |
10 |
18,0 |
|
IR 150 |
230 |
190 |
200 |
120 |
105 |
10 |
21,0 |
|
IR 190 |
260 |
190 |
230 |
140 |
115 |
10 |
28,0 |
|
IR 210 |
260 |
195 |
230 |
140 |
115 |
10 |
28,0 |
|
IR 250 |
260 |
210 |
240 |
140 |
125 |
10 |
34,0 |
|
IR 290 |
320 |
230 |
260 |
150 |
135 |
10 |
38,8 |
|
IR 330 |
320 |
235 |
260 |
150 |
135 |
10 |
39,8 |